锅炉烟气脱硫脱硝设备,锅炉烟气脱硫
- 工程资源
- 2023-06-13
- 509
如果您喜欢本文章,欢迎您分享和关注,吸收正能量!传播正能量!
【分享到朋友圈】
点击右上角/分享到朋友圈/发送
【分享到腾讯微博】
点击右上角/分享到腾讯微博
更多最新资讯请加公众微信号:vauban
近年来,我国实行了大气污染物的总量控制和排放浓度控制相结合的政策,加大了大气污染的治理力度,实行了更严格的大气污染排放标准和排硫排尘的收费制度,使得湿法脱硫除尘技术在我国得到迅速的发展,现已取得长足的进步,技术上也逐渐趋于成熟。
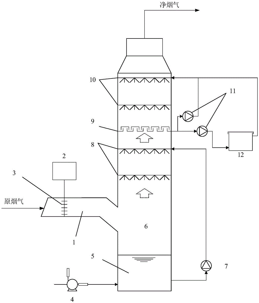
湿法烟气脱硫技术特别适用于大、中型工业锅炉烟气的脱硫除尘,并且还具有设备简单、易操作、脱硫率高等优点。
“其中用得最多的是石灰石一石膏法。它主要以技术成熟、适用煤种广、脱硫率高、脱硫剂来源广等优点,现已成为我国重点提倡的一种湿法脱硫方法。
但在实践中, 存在着结垢堵塞、腐蚀、废液处理等问题。而要彻底解决这些问题则是改进湿法脱硫技术的核心一环。
问题形成的主要原因及对策:
1. 结垢堵塞
在湿法烟气脱硫中,管道与设备是否结垢堵塞,已成为脱硫装置能否正常运行的关键问题。要解决结垢堵塞问题,我们需弄清结垢的机理,以及影响和造成结垢堵塞的因素,然后才能有针对性地从工艺设计、设备结构、操作控制等方面着手解决。
对于造成结垢堵塞的原因,有如下3种方式:
“1)因溶液或料浆中水分蒸发,导致固体沉积;
2)Ca(OH)2或 CaCO3,沉积或结晶析出,造成结垢;
3)CaSO3 或CaSO4 从溶液中结晶析出,石膏晶种沉淀在设备表面并生长而造成结垢。
但在操作中出现的人为因素也是需重视的原因,如:
1)没有严格按操作规程,加入的钙质脱硫剂过量,引起洗涤液pH值过高,促进了CO2的吸收,生成过多的CaCO3,CaSO4等沉淀物质;
2)将含尘多的烟气没经严格除尘就进入吸收塔脱硫。
现在还没有完善的方法能绝对地解决此问题。
目前。一些常见的防止结垢堵塞的方法有:
1)在工艺操作上,控制吸收液中水分蒸发速度和蒸发量;
2)适当控制料浆的pH值。因为随pH值的升高,CaSO3溶解度明显下降。所以料浆的pH越低就越不易造成结垢。但是,若pH值过低,溶液中有较多的CaSO3,易使石灰石粒子表面钝化而抑制了吸收反应的进行,并且过低还易腐蚀设备,所以浆液的pH值应控制适当,一般采用石灰石浆液时,pH值控制为5.8-6.2;
3)溶液中易于结晶的物质不能过饱和,保持溶液有一定的晶种;(垒)在吸收液中加入CaSO·2H20 或CaSO3 晶种来控制吸收液过饱和并提供足够的沉积表面,使溶解盐优先沉淀在上面。减少固体物向设备表面的沉积和增长;
4)对于难溶的钙质吸收剂要采用较小的浓度和较大的液气比。如:石灰石浆液的浓度一般控制小于l5%;
5)严格除尘,控制烟气中的烟尘量;

6)设备结构要作特殊设计,尽量满足吸收塔持液量大、气液相间相对速度高、有较大的气液接触面积、内部构件少、压力降小等条件。另外还要选择表面光滑、不易腐蚀的材料制作趿收设备,在吸收塔的选型方面也应注意。例如:流动床洗涤塔比固定填充洗涤塔不易结垢和堵塞;
7)使用添加剂也是防止设备结垢的有效方法。目前使用的添加剂有CaCl2,Mg(OH)2,己二酸等。
另一种结垢原因是烟气中的O2将CaSO3氧化成为CaSO4(石膏),并使石膏过饱和。这种现象主要发生在自然氧化的湿法系统中。其控制措施是通过强制氧化和抑制氧化的调节手段。既要将全部CaSO3氧化成CaSO4,又要使其在非饱和状态下形成结晶,可有效地控制结垢。
2. 设备腐蚀
设备腐蚀的原因十分复杂,与多种因素有关。如:溶液的温度、pH值、煤种燃烧状态、氯离子浓度等。燃煤燃烧过程中除生成 SO2 以外,还生成少量的SO3,而SO3可与烟气中的水分 (4%~12%)生成硫酸雾。
“当温度较低时,硫酸雾凝结成硫酸附着在设备的内壁上,或溶解于洗涤液中,这就是湿法吸收塔及有关设备腐蚀相当严重的主要原因。
目前,对湿式脱硫系统各部位合理的选择防腐材料及在设备内外涂防腐材料是解决腐蚀问题的主要方法。
如:经受高温、腐蚀、磨损较快的部位,可采用麻石、陶瓷或改性高硅铸铁;经受中低温和腐蚀、磨损不严重的部位,可采用防腐防磨涂料作表面处理。

“日本日立公司的防腐措施是:在烟气再热器、吸收塔人口烟道、吸收塔烟气进口段,均采用耐热玻璃鳞片树脂涂层,在吸收塔喷淋区采用不锈钢或碳钢橡胶衬里。另外可适当控制 pH值来避免腐蚀,如:石灰石料浆的 pH值一般控制在 6.5~6.8。
3. 烟气脱水
湿法吸收塔在运行过程中,易产生粒径为 lO~ 6Oμm 的“雾 ”。“雾”不仅含有水分,它还溶有硫酸、硫酸盐、SO3等。如不妥善解决,将使烟气带水,腐蚀管道和风机,并使风机叶轮粘灰、结垢,引起风机震动,缩短风机使用寿命。
“因此,湿法除尘必须配置除雾的设备,其性能直接影响到湿法烟气脱硫系统能否连续可靠运行。
除雾器通常由除雾器本体及冲洗系统构成。除雾器本体作用是捕集烟气中的液滴及少量粉尘,减少烟气带水,防止风机振动;冲洗系统是定期冲洗由除雾器叶片捕集的液滴粉尘,防止叶片结垢,维持系统正常运行。
除雾器多设在吸收塔的顶部。通常应设二级除雾器,使得净化除雾后烟气中残余的水分一般不得超过 100mg/m3 ,否则将腐蚀热交换器、烟道和风机。
更多精彩,感恩关注
免责声明:《湖南沃邦环保科技有限公司》转载上述内容,对文中陈述、观点判断保持中立,请读者仅作参考,并请自行承担全部责任。
免责声明: 本站提供的任何内容版权均属于相关版权人和权利人,如有侵犯你的版权。 请来信指出,我们将于第一时间删除! 所有资源均由免费公共网络整理而来,仅供学习和研究使用。请勿公开发表或 用于商业用途和盈利用途。
本文链接://www.studdz.com/ziyuan/14877.html
发表评论