潜流湿地,水平潜流湿地
- 工程资源
- 2023-05-19
- 763
潜流湿地是较多采用的人工湿地类型潜流湿地是以亲水植物为表面绿化物,以砂石土壤为填料,让水自然渗透过滤的人造景观它以无表面水占地面积小,使用率高维护方便为特点深受人们的喜爱。
这种湿地系统的优点是投资低,缺点是处理能力低,卫生条件差,在我国北方一些地区由于冬季气候寒冷而不能正常运行2潜流湿地系统也称渗滤湿地系统在潜流湿地系统中,污水在湿地床的内部流动因而一方可以充分利用基质表面生长的。
就是在地下建立防渗池 ,在池内添加良好垫层和滤料 在地面种植水生植物 通过水生植物 对污水进行处理的设施 运行方式类似湿地系统 被称为人工湿地。
一万平方米潜流湿地填料需要的规模大小取决于地形起伏程度水位变化范围土质材料等多个因素,所以需要根据实际情况进行计算才能得出具体结果如果只是简单地估算,一般一万平方米潜流湿地大约需要大约2至3吨填料。

潜流湿地不足以达到预期的净化效果,大量的农田退水未经处理直接排入接纳水体,不仅浪费了水资源,而且污染了接纳水体环境农田退水是农业生产过程中农田积水外排或由于降雨径流所产生的水体,由于农业生产过程中农业肥料的使用。
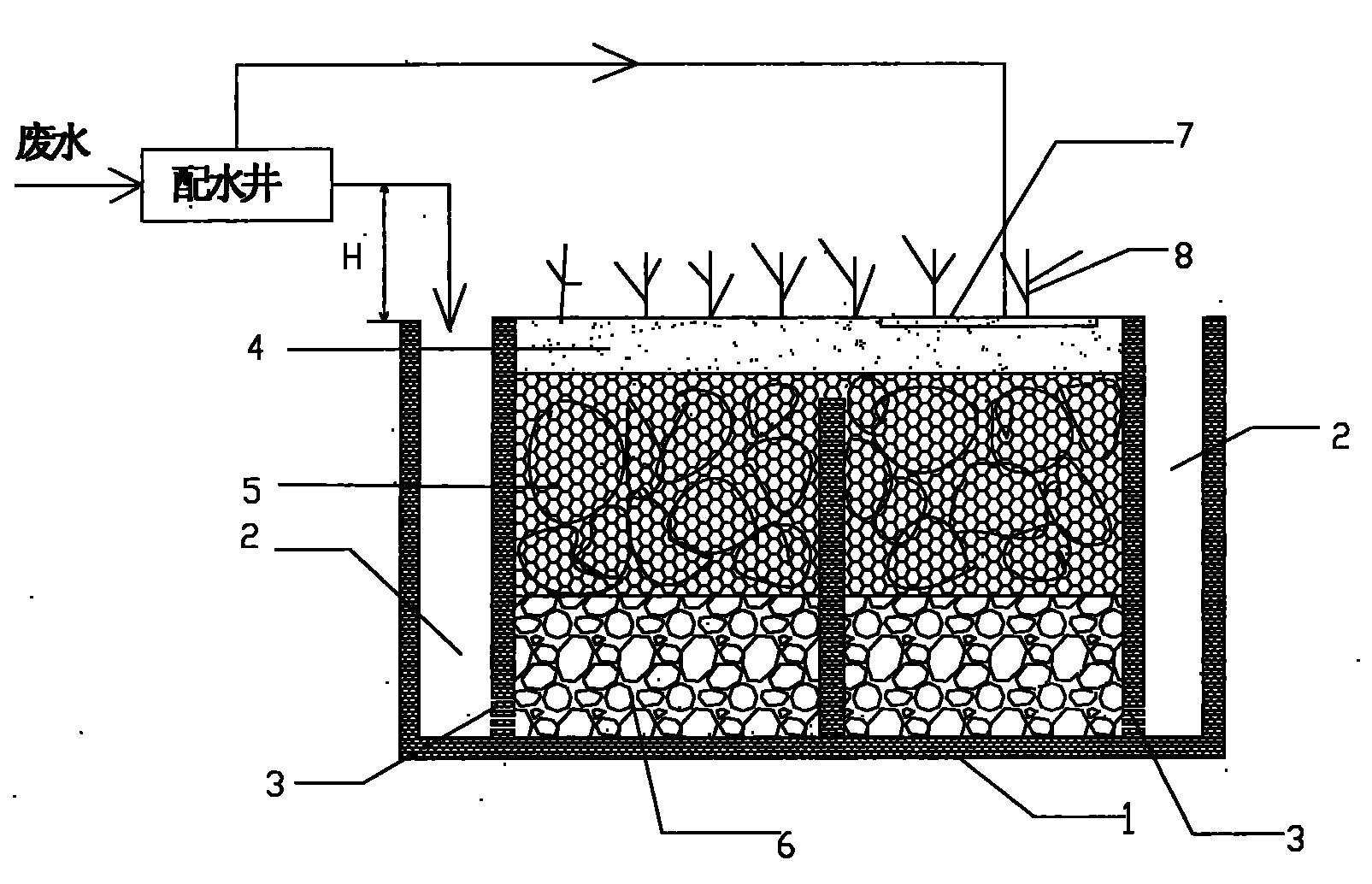
潜流湿地的人工布水系统位于湿地的表面,使水流在湿地表面以下运行,根据水流的方向,又可以把潜流湿地分为水平潜流和垂直潜流湿地两类1表面流人工湿地 表面流人工湿地这种类型的人工湿地和自然湿地类似,污水从湿地表面流过。
1 确定湿地类型 人工湿地可以分为自由水面流动湿地和潜流湿地两种类型自由水面流动湿地适用于处理水量较大的污水,潜流湿地适用于处理水量较小且质量较稳定的污水2 确定湿地位置 人工湿地应建立在废水排放口附近,方便管道。
湿地占地需要50亩根据查询废水处理相关信息得知,一万吨废水需要50亩垂直潜流湿地采用“多级人工湿地+氧化塘”处理污水,每天可以净化1万吨污水原本属于劣五类的污水经过处理后,化学需氧量氨氮指标达到三类水标准,其余。
沉淀池水平潜流湿地和多级表流湿地马料河湿地由三级串连的净化工艺单元组成,依次为沉淀池水平潜流湿地和多级表流湿地,以更有效去除污染物马料河湿地公园占地7万平方米,种植滇朴枫香黄连木银杏等乔木1700多株。
它处于陆地生态系统如森林和草地与水生生态系统如深水湖和海洋之间换言之,湿地是陆地生态系统和水生生态系统之间的过渡带,湿地结合了陆地生态系统和水生生态系统的属性,但又不同于二者潜流湿地是将污水有控制地分配。
表面流人工湿地常用于湖泊河流的水质净化与生态修复 在潜流湿地系统中,污水在湿地床体内部流动,可以充分利用基质层表面生长的生物膜丰富的植物根系及基质截留等作用,有效延长水力停留时间,提高湿地系统的处理效果和处理能力,同时由于。
潜流湿地出水经集水支管集水渠输送回过河泵站集水池,经潜水排污泵提升后对湿地公园水系补水北湖人工湿地补水回用工程的潜流人工湿地日处理污本实用新型公开了一种水平潜流湿地用配水渠结构,设置在湿地的边缘,其主体由。
地址西青区侯台湿地公园 临港生态湿地公园天津临港经济区生态湿地公园是我国大型工业区内为数不多的以水处理为主题兼具景观效果的湿地公园采用蝶变的概念,从景观效果上看,调节池的小岛是卵,潜流湿地是蝶蛹,后面的景观湖。
奥林匹克森林公园湿地 地址北京市朝阳区国家 体育 场北路北京奥林匹克公园内 公园内最大的湿地景观区奥海潜流湿地叠水花台都是湿地区内的著名景点景观区种植了大片的芦苇香蒲菖蒲和美人蕉等植物,在微风吹拂下,沙沙作。
人工湿地是由人工建造和控制运行的与沼泽地类似的地面,将污水污泥有控制的投配到经人工建造的湿地上,污水与污泥在沿一定方向流动的过程中,主要利用土壤人工介质植物微生物的物理化学生物三重协同作用,对污水。
健康”等元素,成为市民共享的休闲绿色空间东莞市塘厦镇清湖头湿地公园项目位于东莞市塘厦镇清湖头社区,该项目占地面积约206亩,其中生态滞留塘占地面积约14亩,潜流湿地区占地面积约58亩,表面流湿地区占地面积约134亩。
4预处理+A2O活性污泥法+人工湿地 处理规模小于100吨时,A2O工程建设投资为36004500元吨水,运行费用为0812元吨水人工湿地造价因类型不同而有所差异,表面流湿地建设费用为22003000元吨水,潜流湿地。
应对方法个人认为可以在湿地植物和湿地土壤特性方面考虑洪水期种植保水植物这个根据当地植物具体情况,以达到保水蓄水的作用人工湿地可增加大量的粘土,也能够起到蓄水的作用另外,潜流湿地也是为来的一个发展方向。
免责声明: 本站提供的任何内容版权均属于相关版权人和权利人,如有侵犯你的版权。 请来信指出,我们将于第一时间删除! 所有资源均由免费公共网络整理而来,仅供学习和研究使用。请勿公开发表或 用于商业用途和盈利用途。
本文链接://www.studdz.com/ziyuan/14144.html
发表评论