消防工程师报名网2022一级消防报名时间
- 消防工程师
- 2022-10-05
- 838
消防工程师考试后需要重点关注的几个问题嘿嘿,备考了这么久,大家这次都考了多少分呐?船船在这里等着你们的喜报频传哈~欢迎。

说明一级注册消防工程师考试预报名工作正在进行中,建设工程教育网已汇总各省报名入口等注意事项点击立即查看 消防工程师考试报名条件要求具备下列条件之一者;消防工程师网提供,一级消防工程师报名时间及入口报考条件考试时间成绩查询时间及入口等,消防工程师考试真题及答案考试试题等内容服务全国;2一级注册消防工程师报名需要准备哪些材料?一级注册消防工程师网上报名,考生可通过各地人事考试网或中国人事考试网进行网络;消防工程师考试网提供2022年消防工程师报名时间入口消防工程师培训班消防工程师啥时报名等最新考试信息,第一时间公布。
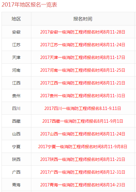
距离一消考试103天2018一级消防工程师报名时间预计为8月份,各位考生是否将报名资料准备好了?优路教育整理了消防工程师考;最新消息,中国人事考试网于2018年1月12日发布18年一级注册消防工程师资格考试公告,提到了18年一级注册消防工程师的报名条件。

2022年山东一级消防工程师报名官网 中国人事考试网 ,2022年度一级注册消防工程师资格考试报名证明事项实行告知承诺制,应试人员须通过中国人;快捷报名回复消防2022一级注册消防工程师报名入口官网中国人事考试网“网上报名”栏目进行报名报考;如果您对一级消防工程师报考还有其他问题想咨询,233网校特为大家提供免费报名指导服务1对1帮你解答报考难题2022一消报。
全国消防工程师报名网站为“中国人事考试网”考生报考消防工程师可以点击进入中国人事考试网网上报名入的步骤如下 进入中国人事考试网后点击网。
免责声明: 本站提供的任何内容版权均属于相关版权人和权利人,如有侵犯你的版权。 请来信指出,我们将于第一时间删除! 所有资源均由免费公共网络整理而来,仅供学习和研究使用。请勿公开发表或 用于商业用途和盈利用途。
本文链接://www.studdz.com/xiaofang/7771.html

发表评论