包含江西二级消防工程师报名时间的词条
- 消防工程师
- 2022-09-25
- 766
1、那么二级消防工程师报考时间大概是什么时候呢?接下来橙子内训带大家看看2018年二级消防工程师报考时间已确定?1报考时间推。
2、二级消防工程师2022年开考时间已确定11月5日,报名时间是2022年8月5日至8月12日目前只有甘肃一个省份发布二消开考通知。
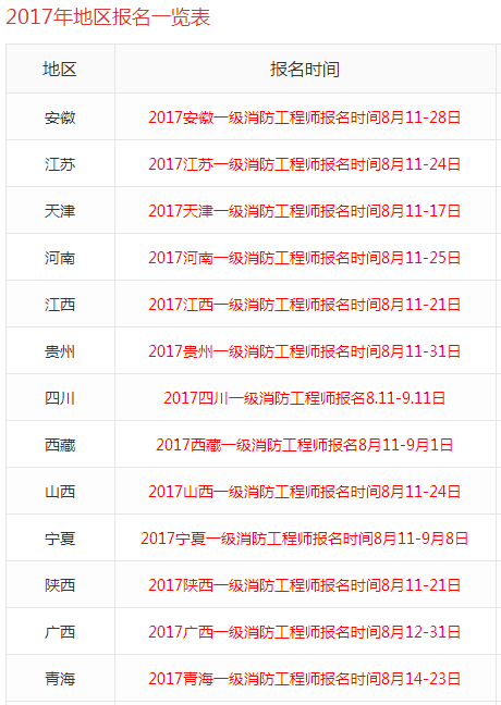
3、江西一级消防工程师报名要求根据注册消防工程师制度暂行规定第十二条,一级注册消防工程师资格考试报名条件一取得。
4、明确指明二级注册消防工程师考试时间为11月5日!具体详情如下各市州人力资源和社会保障局省直有关单位人事处为进一步。
5、从今天起,一级消防工程师正式开启报考,为方便同学们了解报名时间,开始每天更新报名时间,参加今年一级消防工程师考证的同学。
6、有人咨询“二级消防工程师报名需要什么条件?”,学霸君为大家解答如下二级注册消防工程师报考不限专业,取得中专及以上学历。
7、考试吧江西二级消防工程师栏目为您提供江西二级消防工程师网江西二级消防工程师考试报名时间,江西二级消防工程师考试报考条件,江西二级消防工程师考试报名网站,江西。

8、2021年江西二级消防工程师考试即将开考,那2021年江西二级消防工程师报名什么时候开始小编来为大家解答,更多二级消防工程师报考指南相关信息。
9、江西二级消防工程师报名网 发布2018最新最全的二级消防工程师报名相关资讯,2022二级消防工程师报名时间二级消防工程师报名入口网址网站二级消。

10、这预示着2021年二级注册消防工程师即将开考,考生们需提前做好相关备考工作 那 江西 2021年二级消防工程。
11、江西省二消二级消防工程师考试江西省最新发布2022年江西省二消二级消防工程师考试通知及报名公告考生应仔细阅读通知内容,按要求完成报名工作详细信息请登录渡考网。
12、获取江西二级消防工程师报名时间即时信息请关注“二级消防工程师考试报名”专题 二级消防工程师报名入口各省不统一,按照执业资格考试惯例,江西。
免责声明: 本站提供的任何内容版权均属于相关版权人和权利人,如有侵犯你的版权。 请来信指出,我们将于第一时间删除! 所有资源均由免费公共网络整理而来,仅供学习和研究使用。请勿公开发表或 用于商业用途和盈利用途。
本文链接://www.studdz.com/xiaofang/7496.html

发表评论