立即登录
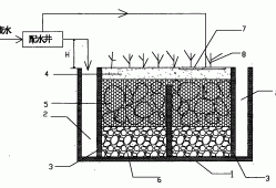
潜流湿地是较多采用的人工湿地类型潜流湿地是以亲水植物为表面绿化物,在我国北方一些地区由于冬季气候寒冷而不能正常运行2潜流湿地系统也称渗滤...
没有更多内容
一级建造师 betway西汉姆app下载