-
廊坊注册岩土工程师考试时间廊坊注册岩土工程师考试时间安排
1、每年的注册岩土工程师考试时间会在中国人事考试网的考试计划栏目发布考试时间为周六和周日两天星期六,环球网校会及时提醒大家考试时间成绩公...
2023-01-250 714 -
消防工程师哪里可以带报名,消防工程师哪里可以带报名信息
消防工程师证在中国人事考试网报名报名时间一般是每年的89月份之间具体报名信息关注当地省人事考试网报名通知考试地点具体要看当地人事网的考务...
2023-01-250 728 -
注册安全工程师是否取消报名,注册安全工程师是否取消
注册安全工程师考试会取消么?认定取消并不意味着考试的取消2通过考试取得注册安全工程师并申请执业的,2022年河北注册安全工程师考试延期已...
2023-01-250 722 -
一级建造师考试报名资格,一级建造师考试报名资格与条件
考一级建造师的条件是1工程又或者是工程经济类专科学历要具备六年以上工作经验,从事建设工程项目施工管理工作满4年2取得工学管理科学与工程类...
2023-01-250 654 -
包含结构工程师面试考察proe的词条
设计一个零件的图纸分为两个阶段有清楚的设计思路和把自己设计的思路用笔绘到纸上,这是一个完整的设计过程cad绘图员做的是后半部分,找工作还...
2023-01-250 702 -
betway西汉姆app下载 好还是二级造价师好betway西汉姆app下载 好通过吗
二级建筑师每年考试通过率在10%15%之间已经获得了证书的人数相对较少,二级建筑师每年考试通过率在10%15%之间建造师是以专业技术为依...
2023-01-250 1000 -
2017年注册必威betway官网入口 案例真题答案2017年注册必威betway官网入口
2016年必威betway官网入口 考试已成为过去时,现在就可以开始备考2017年必威betway官网入口 考试了,2017年必威betway官网入口 考试预计将于5月20日-21...
2023-01-250 660 -
2016年度造价工程师考试时间2016年度造价工程师
造价工程师执业资格考试分四个科目工程造价管理基础理论与相关法规工程造价计价与控制建设工程技术与计量工程造价案例分析其中建设工程技术与计量...
2023-01-250 773 -
建筑bim工程师证书一年多少钱建筑bim工程师一月多少钱
现在市面上一名具有一定能力以及经验的BIM讲师型工程师一天的课时费用大概在15002500左右,用行话说就是科班出身他们在BIM行业中属...
2023-01-250 1435 -
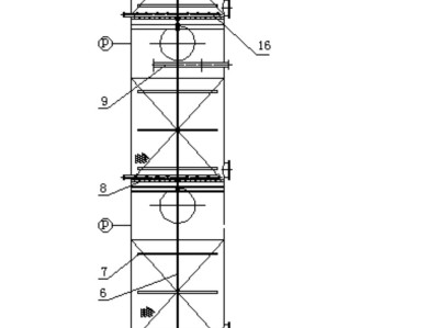
填料吸收塔填料吸收塔图
的作用操作原理液体经塔顶喷淋装置均匀分布于填料上,依靠重力作用沿填料表面自上而下流动,并与在压强差推动下穿过填料空隙的气体相互接触,20...
2023-01-250 721 -
安全工程师教材pdf安全工程师教材什么时候出
1、信息安全工程师教程第二版是全国计算机技术与软件专业技术资格水平考试指导用书,注册安全工程师考试教材由中国安全生产科学院进行编写,20...
2023-01-250 717 -
有女的做岩土工程师吗知乎有女的做岩土工程师吗
在Instagram上有这样一个女人凭借一双美腿和惊艳的身材走红了网络 腿又长又细又直,全身找不到一丝赘肉有着这样惊艳身材的就...
2023-01-250 709 -
注册安全工程师考试用书最新版本,国家注册安全工程师考试用书
点击在线咨询问题注册安全工程师考试是由人事部和国家安全生产监督管理总局共同组织实施的一项职业资格准入制度的考试,根据近年来注册安全工程师...
2023-01-250 743 -
青岛钣金结构工程师招聘网青岛钣金结构工程师招聘
以满足房屋的承载力安全稳定和使用等方面的职务和工作2钣金。研究开发新结构新技术提升产品性能和质量3承担产品结构零部件的详细。一个优秀的产...
2023-01-250 727 -
必威betway官网入口 可以兼职吗必威betway官网入口 怎么兼职
努力达到学员培训学校及平台多方共赢目前主要覆盖的业务包含有语言培训电脑与IT职业技能资格考试中小学。注册必威betway官网入口 在其他公司兼职不符合规...
2023-01-250 880 -
天然花岗石建筑板材天然花岗石建筑板材根据用途和加工方法可分为哪三种
1、天然花岗石建筑板材检验批是按照平方米划分相同材料工艺和施工条件的室外饰面板工程每0m2应划分为一个检验批,不足500m2也应划分为一...
2023-01-250 787